HOY SE HABLA DE

PlayStation patenta un sistema para que los streamers puedan recibir ayuda de sus espectadores en sus transmisiones de PS5 y PC

Playstation Patenta Un Sistema Para Que Los Streamers Pueden Recibir Ayuda De Sus Espectadores En Sus Transmisiones De Ps5 Y Pc 1
Sin comentarios Facebook Twitter Flipboard E-mail
victor-monje

Víctor Monje

Editor

Durante la presente jornada del 04 de julio, PlayStation hizo noticia por patentar un sistema en el que los streamers de PS5 y PC pueden recibir ayuda de sus espectadores e interactuar con ellos mientras juegan y transmiten en tiempo real.

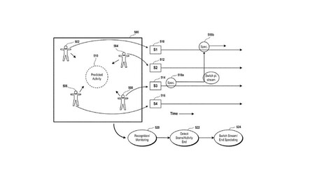
Este “Modo Helper” será en tiempo real, en el que cuando un streamer se encuentra jugando a un título en particular, un espectador puede ingresar directamente a la partida y ayudar a que el generador de contenidos supere el nivel o misión en la que tiene problemas.

Según el reporte de GameRant, esta patente también permite que la interaccióno ayuda de los espectadores a los streamers diferirán de un videojuego a otro, por lo que no todas las entregas tendrán la misma modalidad. Una de las soluciones que señala el artículo es que los juegos transmitidos sean entregas en la nube y sigan la misma línea de lo que presenta la imagen del “Modo Helper”.

PlayStation patenta un sistema para que los streamers pueden recibir ayuda de sus espectadores en sus transmisiones de PS5 y PC 2 Sony patentó el "Modo Helper" para la ayuda e interacción entre streamer y espectador

Este nuevo algoritmo de PlayStation es parte la nueva tecnología en la que PlayStation busca invertir y que la industria siga avanzando para que todos los jugadores casuales y fanáticos de las transmisiones en Internet puedan seguir disfrutando de las entregas de la plataforma y además ver a sus rostros favoritos.

Por ahora no hay una fecha de lanzamiento para este “Modo Helper”, por lo que se debe esperar un tiempo indeterminado para que esta nueva función sea válida en los generadores de contenido que transmiten en Internet y los fanáticos que miran estas transmisiones a través de Twitch, Facebook y YouTube.

Y siguiendo con PlayStation, en 3DJuegos LATAM les presentamos otro servicio patentado por Sony, lo nuevo de Final Fantasy XVI y más juegos clásicos de PS1 que podrían llegar al servicio del alquiler.

Comentarios cerrados
Inicio