HOY SE HABLA DE

Nueva patente de PlayStation señala que hardware de PS3 será compatible con PS5: DualShock 3, PSP y PS Eye tendrán segunda oportunidad

Nueva Patente De Playstation Senala Que Hardware De Ps3 Sera Compatible Con Ps5 Dualshock 3 Psp Y Ps Eye Tendran Segunda Oportunidad
Sin comentarios Facebook Twitter Flipboard E-mail
axel-garcia

Axel García

Editor

Cambiar de generación de consolas siempre es emocionante, pero hacerlo nos llena poco a poco de accesorios y otro tipo de hardware que dejamos de usar debido a la falta de compatibilidad. A pesar de no hacer a un lado al PS4, el PS5 no nos permite utilizar nada de la era del PS3, pero una patente recién hallada de PlayStation sugiere que esto podría cambiar en el futuro.

La patente en cuestión fue hallada por GameRant, y en ella vemos el título "Systems and Methods For Converting A Legacy Code Into An Updated Code" (sistemas y métodos para convertir un código de legado en un código actualizado) con registro por parte de Sony Interactive Entertainment el pasado 30 de junio.

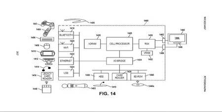
La patente viene acompañada de una imagen donde podemos ver con claridad hardware de la era del PS3, incluyendo el PSP Go, un control remoto, el EyeToy, y por supuesto, el DualShock 3. El objetivo de la patente es demostrar cómo podrían los jugadores utilizar sus viejos accesorios en la actualidad, pero recordemos que esto es únicamente una idea circulando por las oficinas de PlayStation; esto no significa que todos estos accesorios serán compatibles con PS5 en el futuro.

Nueva Patente De Playstation Senala Que Hardware De Ps3 Sera Compatible Con Ps5 Dualshock 3 Psp Y Ps Eye Tendran Segunda Oportunidad 2 La idea está ahí, ¿pero la veremos implementada algún día?

Sin embargo, de ser cierto, esto permitiría a millones de fans de PlayStation reutilizar sus accesorios de nuevas maneras. Además, esto también sugiere que PlayStation podría relanzar al mercado estas piezas de hardware que podrían encontrar un nuevo uso en la actualidad, y aunque suene muy descabellado de momento, retrocompatibilidad con juegos de PS3 en el futuro.

Otra patente de PlayStation hallada recientemente señala que más juegos clásicos del primer PlayStation podrían descargarse sin costo más adelante en la nueva suscripción de PS Plus, como Resident Evil 2. Sin embargo, y al igual que la noticia de hoy, estas patentes no deben ser tomadas como confirmaciones oficiales, pues aunque no sean simples rumores, podrían jamás ver la luz del día y permanecer como ideas que no convencieron.

Comentarios cerrados
Inicio