La Inteligencia Artificial quiere sustituir a los gamers malos: PlayStation busca hacer tu vida más simple al jugar

Playstation Patenta Una Nueva Tecnologia De Ia 2
Sin comentarios Facebook Twitter Flipboard E-mail
ayax-bellido

Ayax Bellido

Editor
ayax-bellido

Ayax Bellido

Editor

Escribo sobre videojuegos y anime, y me siento muy afortunado por ello. Editor en 3DJuegos LATAM. ¡Llegó el momento de la espada y el hacha, llegó el momento de la locura y el desdén!

1337 publicaciones de Ayax Bellido

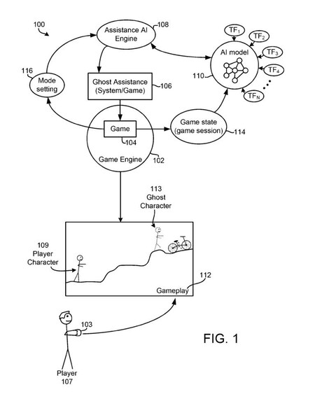
PlayStation ha patentado una nueva tecnología que busca ayudar a los jugadores cuando se quedan atascados en una partida, una situación tan común como frustrante para buena parte de la comunidad. La propuesta, documentada bajo el nombre de "Ghost Player", apunta a cambiar la forma en la que los jugadores reciben asistencia dentro de un juego, apostando por una solución integrada, dinámica y controlada por IA.

Nueva ayuda para los jugadores en PlayStation

De acuerdo con los documentos de la patente, esta tecnología permitiría invocar una versión "fantasma" del personaje del jugador, generada por inteligencia artificial. Este avatar no sería un simple video o una pista estática, sino una entidad capaz de interactuar directamente con el entorno del juego.

En términos prácticos, el sistema podría mostrar cómo resolver un rompecabezas específico o incluso completar una sección entera del nivel en lugar del usuario. La patente fue presentada originalmente en septiembre de 2024, aunque fue hasta esta semana cuando la Organización Mundial de la Propiedad Intelectual publicó un informe sobre su estado internacional.

El objetivo sería que el jugador aprenda observando la solución antes de intentar replicarla por sí mismo. La idea no surge en el vacío: desde hace años, la industria ha integrado distintas formas de asistencia para suavizar la experiencia de juego.

Playstation Patenta Una Nueva Tecnologia De Ia 1

Reducir la dificultad, omitir enfrentamientos o incluir sistemas de pistas en rompecabezas son prácticas habituales. Sin embargo, lo que diferencia a esta tecnología es su carácter activo y personalizado. Según la patente, el modelo de IA se entrenaría utilizando imágenes existentes del propio juego, en lugar de depender de secuencias pregrabadas definidas previamente por los desarrolladores. Esto abre la puerta a una ayuda más flexible, capaz de adaptarse a múltiples situaciones sin necesidad de diseñarlas manualmente.

El sistema de Jugador Fantasma también puede entenderse como una evolución natural de la Ayuda de Juego de PS5, una función lanzada junto con la consola. En los títulos compatibles, esta herramienta ofrecía orientación mediante imágenes o videos accesibles desde las tarjetas del sistema, sin necesidad de salir del juego.

Como ocurre con muchas patentes, no existe garantía de que esta tecnología llegue a implementarse de forma comercial. Sin embargo, el concepto de un "fantasma" controlado por IA que enseña o juega por el usuario plantea preguntas interesantes sobre accesibilidad, aprendizaje y el equilibrio entre desafío y asistencia.

Inicio